ШПРИЦЫ КОЛБАСНЫЕ ВЕРТИКАЛЬНЫЕ ШКВ
Объем, л
ШКВ-3; ШКВ-5
3;           5
Масса загружаемого продукта, кг,
не более
7;        11
Размеры цилиндра, мм
диаметр
высота цилиндра
Ø140; Ø140
200;    320
Габаритные размеры, мм, не более
ширина
длина
высота
300;    300
340;    340
570;    690
Масса шприца, кг, не более
11;      12
ШПРИЦЫ КОЛБАСНЫЕ ВЕРТИКАЛЬНЫЕ ШКВ
Оставить заявку
Состав и комплектность
Наименование
Количество на шприц, шт
ШКВ-3
ШКВ-3
ШКВ-5
Шприц колбасный вертикальный в сборе (со снятыми гайкой зажимной, рукоятью)
1
1
Рукоять
Гайка зажимная
1
1
1
1
Комплект принадлежностей
Насадка Ø10 мм
Насадка Ø20 мм
Насадка Ø30 мм
Насадка Ø40 мм
1
1
1
1
1
1
1
1
Документация
Руководство по эксплуатации ШКВ РЭ
1
1
Комплект тары
Коробка упаковочная
1
1
ШКВ-3
ШКВ-5
Шприцы колбасные вертикальные ШКВ предназначены для набивки колбасных оболочек на предприятиях торговли и общественного питания.

В комплекте 4 насадки: Ø10 мм, Ø20 мм, Ø30 мм, Ø40 мм!
Изготавливаются по ТО BY 200166490.016-2020.

Ручной привод.

Рекомендованная температура эксплуатации от +1 до +30 0С

Шприцы колбасные вертикальные ШКВ имеют ДЕКЛАРАЦIЮ ПРО ВIДПОВIДНIСТЬ ПРОДУКЦII ВИМОГАМ ТЕХНIЧНИХ РЕГЛАМЕНТIВ.
Устройство и работа

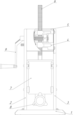
Шприцы представляют собой платформу 1, стойки левую 2 и правую 3, на которых закреплен цилиндр 7 с перемещающимся во внутреннем объеме поршнем 6. В нижней части цилиндра 7 расположено выходное отверстие, к которому гайкой зажимной 8 крепится насадка необходимого диаметра. Для подачи продукта используется поступательное движение поршня 6, которое обеспечивается механическим редуктором, расположенным в приводе 4. Поршень в движение приводит рукоять 9.
1 – платформа; 2 – стойка левая; 3 – стойка правая; 4 – привод; 5 – кожух привода;
6 - поршень; 7 – цилиндр; 8 – гайка зажимная; 9 – рукоять.
Порядок работы

Установить рукоять шприца на привод, снять цилиндр с корпуса шприца. На нижнюю часть цилиндра установить насадку необходимого диаметра и закрепить гайкой зажимной. Заполнить цилиндр фаршем и установить его в корпус шприца. Надеть оболочку, заполняемую фаршем, на насадку. Перенести рукоять на низкоскоростной привод и поворачивать ее по часовой стрелке – фарш начнет выходить из насадки и заполнять оболочку. После каждого использования необходимо проводить санитарную обработку шприцов. Загрязнения удалять влажной тканью, смоченной мыльным раствором. После очистки, поверхности шприца протереть сухой тканью.
Запрещается использование абразивных материалов для очистки поверхностей шприцов.

Гарантийный срок эксплуатации - 24 месяца с момента передачи изделия потребителю, если иное не предусмотрено договором. продажи миксеров потребителю, если иное не предусмотрено договором.
У вас остались вопросы?
Оставьте контакты и мы вам перезвоним
Оставьте контакты и мы вам перезвоним
Наш адрес:
Россия, г. Смоленск, Лавочкина, д. 104
помещение 13
Наш email: