МЯСОРУБКИ МИМ-300 И МИМ-600
Максимальная производительность, кг/ч, не менее
МИМ-300       МИМ-600
300 600
Производительность при повторном измельчении котлетной массы, кг/ч, не менее
100                 200
Номинальная потребляемая мощность, кВт
1,90              2,71
Установленная мощность, кВт
1,5                  2,2
Габаритные размеры, мм, не более:
длина
ширина
высота
650              705
390              390
435              510
Питающая электросеть:
род тока
номинальное
напряжение, В
частота тока, Гц
трехфазный
переменный
380
50
Масса, кг, не более
40              52
МЯСОРУБКИ МИМ-300 И МИМ-600
Оставить заявку
*Практическая производительность мясорубки зависит от скорости подачи оператором порезанного кусочками продукта к шнеку, сортности перерабатываемого мяса, качества заточки инструмента.
Обозначение
Наименование
 Количество штук на мясорубку
             
МИМ-300
МИМ-600
МИМ-300
Привод
1
МИМ-600
Привод
1
МИМ-300.01.000
Собственно мясорубка

в составе: корпус мясорубки, шнек, гайка зажимная, нож двусторонний (2 шт.), нож подрезной, решетка №2, решетка №3, кольцо упорное, втулка
1
МИМ-600.01.000
Собственно мясорубка

в составе: корпус мясорубки, шнек, гайка зажимная, нож двусторонний (2 шт.), нож подрезной, решетка №2, решетка №3, кольцо упорное, втулка
1
МИМ-300.38.000

МИМ-300.28.000

МИМ-1.26.000
Зажим

Толкач

Толкач
2
1
2

1
2


1
2



1
Устройство ввода:

выключатель автоматический типа ВА 47-29; 3 полюса; 400В; 50Гц; время- токовая характеристика «С»

ТУ 2000 АГИЕ.641.235.003





Устройство ввода указанных параметров является обязательной частью машины. Нарушение этого требования может привести к выходу машины из строя.
Устройство ввода:

выключатель автоматический типа ВА 47-29; 3 полюса; 400В; 50Гц; время- токовая характеристика «С»

ТУ 2000 АГИЕ.641.235.003





Устройство ввода указанных параметров является обязательной частью машины. Нарушение этого требования может привести к выходу машины из строя.



1

Примечание:
комплектуется заказчиком



1

Примечание:
комплектуется заказчиком

Кабель Н05VV5-F 5G1 (либо другой с аналогичными характеристиками для подсоединения мясорубки к автоматическому выключателю)
3,2 м

Примечание:
комплектуется заказчиком
3,2 м

Примечание:
комплектуется заказчиком
МИМ-300.01.002

МИМ-600.01.002
Кольцо упорное

Кольцо упорное
1


1

Манжета 2.2-38х58-1 ГОСТ 8752-79

Манжета 2.2-38х58-1 ГОСТ 8752-79
1 (по требованию заказчика)
1 (по требованию заказчика)
1 (по требованию заказчика)
1 (по требованию заказчика)
МИМ-300.00.016
Решетка № 1 (отверстие Ø3 мм)
1

Примечание:
поставляется по отдельному заказу за дополнительную плату
МИМ-600.00.015
Решетка № 1 (отверстие Ø3 мм)
1

Примечание:
поставляется по отдельному заказу за дополнительную плату
Комплект принадлежностей
МИМ-300.00.020
Съемник
1
МИМ-300.00.021
Насадка
1
1
МИМ-300.10.000
Поддержка
1
МИМ-600.00.021
Насадка
1
МИМ-600.10.000
Поддержка

1
Комплект тары

Ящик упаковочный
1
1
Документация
МИМ-300(600) РЭ

Руководство по эксплуатации (РЭ)
1
МИМ-300 (600) Д1

МИМ-300 (600) Д2
Памятка по обращению с мясорубкой

Инструкция по технике безопасности при эксплуатации мясорубки
1
(в составе РЭ)
1
(в составе РЭ)
1
(в составе РЭ)
1
(в составе РЭ)
1
(в составе РЭ)
1
(в составе РЭ)
1
(в составе РЭ)
1
(в составе РЭ)
Мясорубки МИМ-300 и МИМ-600 предназначены для измельчения мяса и рыбы на фарш, повторного измельчения котлетной массы и набивки колбас на предприятиях общественного питания.

Выпускаются с облицовкой из нержавеющей стали, в исполнении УХЛ4 по ГОСТ 15150-69 для эксплуатации при температуре от плюс 1 до плюс 35 °С.

Мясорубки МИМ-300 и МИМ-600 производятся в соответствии с требованиями стандарта СТБ ISO 9001-2015
Мясорубка МИМ-300
Мясорубка МИМ-600
Устройство и работа мясорубок

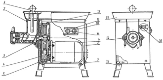
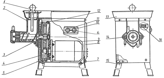
Мясорубка состоит из собственно мясорубки и привода. Собственно мясорубка в сборе состоит из алюминиевого корпуса, в котором вращается шнек, зажимной гайки, двусторонних ножей, набора ножевых решеток, кольца упорного и ножа подрезного.
1- Толкач; 2- Собственно мясорубка.
Привод: 3-Вал приводной; 4- Отверстие для контроля уровня масла; 5- Облицовка передняя; 6- Индикатор;
7- Зажим эквипотенциальный; 8- Облицовка задняя; 9- Электродвигатель; 10- Кнопка «ПУСК»; 11- Кнопка «СТОП»;
12- Пробка; 13- Чаша с предохранителем; 14- Зажим; 15- Опора; 16- Блок зажимов
Крепление корпуса, производится резьбовыми зажимами.

Над загрузочным отверстием расположен несъемный предохранитель, исключающий возможность попадания руки обслуживающего персонала к шнеку мясорубки.

Мясо или рыба очищается от костей, нарезается на кусочки массой не более 0,1 кг. Рекомендуемая температура обрабатываемого продукта должна быть (8±2)0С. С перерабатываемого продукта удаляются соединительные ткани, сухожилия.

Перерабатываемый продукт из чаши вручную подается к горловине корпуса мясорубки, а затем толкачем к вращающемуся шнеку. Увлекаемый шнеком продукт проходит последовательно через набор режущих инструментов.

Для получения фарша разной степени измельчения мясорубка снабжена набором ножевых решеток с отверстиями различных размеров. Решетки вставляются в корпус мясорубки и удерживаются от проворачивания шпонкой.
Наиболее эффективный режим работы мясорубки достигается при установке набора режущего инструмента для крупного измельчения.
Заточка ножей и решеток
1 - Нож подрезной; 2 – Решетка; 3 – Нож двусторонний
Транспортировка

Машина должна транспортироваться от места получения до места установки и монтажа в упаковке предприятия-изготовителя. После распаковки машины необходимо проверить комплектность поставки согласно п 1.3 Руководства по эксплуатации.
Монтаж

Все работы по подсоединению машины к электрической сети и пуску в эксплуатацию должны быть выполнены представителем обслуживающей специализированной организации, в соответствии с действующими в Республике Беларусь: "Правила устройства электроустановок", ТКП 191-2009 "Правила технической эксплуатации электроустановок потребителей", "Межотраслевые правила по охране труда", либо в соответствии с аналогичными действующими нормативными документами страны-импортёра.
Гарантийные обязательства

Гарантийный срок - 24 месяца (срок гарантии на абразивный диск не распространяется). Гарантийный срок исчисляется со дня ввода машины в эксплуатацию, но не позднее 6 месяцев со дня приобретения машины.

Предприятие-изготовитель в период гарантийного срока устраняет отказы и неисправности в работе оборудования только при условии:

Соблюдения всех требований "Руководства по эксплуатации" машины.
Монтаж и ввод в эксплуатацию произведен специалистами сервисного центра, либо специалистами другой организации с письменного разрешения предприятия-изготовителя.
Передачи (пересылки) предприятию-изготовителю копии оформленного в полном объеме "Акта ввода оборудования в эксплуатацию" в течение 10 дней со дня ввода машины в эксплуатацию для постановки оборудования на гарантийный учет.
Проведение ежемесячного технического обслуживания согласно "Руководства по эксплуатации".
Передачи (пересылки) предприятию-изготовителю оформленного в полном объеме "Акта-рекламации".
Работы по ежемесячному техническому обслуживанию, в соответствии с требованиями "Руководства по эксплуатации", не являются работами по гарантии и производятся за счет потребителя специализированными организациями по предварительно заключенному договору между ними.

При нарушении хотя бы одного из вышеуказанных пунктов предприятие-изготовитель снимает с себя гарантийные обязательства.

Примечание: оформленные "Акт ввода оборудования в эксплуатацию" и "Акт-рекламация" должны быть заверены печатью потребителя и предприятия, производящего ввод в эксплуатацию или ремонт и техническое обслуживание.
Наименование параметров решеток Номер решетки
МИМ-300 МИМ-600
1 (по заказу) 2 3 1 (по заказу) 2 3
Наружный диаметр, мм 82 82 82 105 105 105
Диаметр отверстий, мм 3 5 9 3 5 9
Количество отверстий, шт 270 90 30 276 132 54
Не допускается продолжительная работа мясорубки вхолостую (без загрузки продукта), т.к. при возникшем сухом трении зажатые ножи и решетки выходят из строя.
У вас остались вопросы?
Оставьте контакты и мы вам перезвоним
Оставьте контакты и мы вам перезвоним
Наш адрес:
Россия, г. Смоленск, Лавочкина, д. 104
помещение 13
Наш email: