МАШИНЫ ПРОТИРОЧНО-РЕЗАТЕЛЬНЫЕ МПР-350М
Производительность при
нарезке картофеля
кружочками(ломтиками)
толщиной 10 мм, кг/ч,
не менее
МПР-350М            350
МПР-350М-01            -
МПР-350М-02      350
Производительность при протирке картофеля, кг/ч,
не менее
МПР-350М            600
МПР-350М-01      600
МПР-350М-02           -
Количество видов нарезки
МПР-350М                9
МПР-350М-01           -
МПР-350М-02          8
Количество видов
 протирки
МПР-350М                2
МПР-350М- 01         2
МПР-350М-02           -
Мощность установленного двигателя, кВт
МПР-350М           0,75
МПР-350М- 0      0,75
МПР-350М-02     0,37
Номинальная потребляемая мощность, кВт,
не более
МПР-350М             1,0
МПР-350М- 01      1,0
МПР-350М-02   0,545
Питающая электросеть:
- род тока
- номинальное
 напряжение, В
- частота тока, Гц

трехфазный, переменный
380
50
Габаритные размеры, мм, не более:
- длина
- ширина
- высота
600           600      600
340           340      300
650           650      650
Масса, кг, не более
36             27         30
МАШИНЫ ПРОТИРОЧНО-РЕЗАТЕЛЬНЫЕ МПР-350М
Оставить заявку
Виды переработки, виды и размеры нарезки
Производительность,
кг/ч, не менее
Нарезка
картофеля кружочками (ломтиками) толщиной 10 мм
кружочками (ломтиками) толщиной 2 мм
соломкой сечением 4х3 мм
соломкой сечением 4х3 мм
брусочками сечением 5х10 мм
брусочками сечением 5х10 мм
кубиками 10х10х10 мм
кубиками 10х10х10 мм
брусочками сечением 10х10 мм
брусочками сечением 10х10 мм
свеклы кружочками (ломтиками) толщиной 2 мм
свеклы кружочками (ломтиками) толщиной 2 мм
соломкой сечением 4х3 мм
соломкой сечением 4х3 мм
моркови кружочками (ломтиками) толщиной 2 мм
моркови кружочками (ломтиками) толщиной 2 мм
соломкой сечением 1,3х3,5 мм
соломкой сечением 1,3х3,5 мм
соломкой сечением 4х3 мм
соломкой сечением 4х3 мм
соломкой сечением 2х2 мм
соломкой сечением 2х2 мм
репы, брюквы кружочками (ломтиками) толщиной 2 мм
репы, брюквы кружочками (ломтиками) толщиной 2 мм
соломкой сечением 4х3 мм
соломкой сечением 4х3 мм
огурцов свежих и соленых соломкой сечением 4х3 мм
огурцов свежих и соленых соломкой сечением 4х3 мм
лука репчатого кольцами (полукольцами) толщиной 2 мм
лука репчатого кольцами (полукольцами) толщиной 2 мм
Тонкое измельчение
Тонкое измельчение
картофеля
картофеля
моркови
моркови
Шинковка
Шинковка
капусты толщиной 2 мм
капусты толщиной 2 мм
Протирка на диске протирочном с отверстиями диаметром 4 мм
Протирка на диске протирочном с отверстиями диаметром 4 мм
вареного картофеля
вареного картофеля
вареных гороха, фасоли
вареных гороха, фасоли
вареных моркови, свеклы (после измельчения на диске терочном)
вареных моркови, свеклы (после измельчения на диске терочном)
жидких крупяных каш
жидких крупяных каш
творога
творога
яблок печеных
яблок печеных
тыквы
тыквы
Протирка на диске протирочном с отверстиями диаметром 1,5 мм
Протирка на диске протирочном с отверстиями диаметром 1,5 мм
жидких крупяных каш
жидких крупяных каш


350
100
110
200
250
250
100
110
100
100
110
150
100
110
110
100
120
60
220
600
300
100
300
300
400
400
150
Состав изделия
Количество, шт.
  
МПР-350М
МПР-350М-01
МПР-350М-01
МПР-350М-02
Привод МПР-350М.01.00.00
Привод МПР-350М.01.00.00-02
  1 
  1 
  
  1 
Приспособление для протирки
МПР-350М.02.00.00 с ротором
МПР-350М.08.00.00 и диском протирочным с отверстиями диаметром 4мм МПР-350М.00.00.04
  
  1 
  
  1 
  
Приспособление для резки
МПР-350М.03.00.00 с ножом комбинированным 5х10 мм
МПР-350М.14.00.00
  1 
  
  1 
Комплект сменных рабочих органов
нож дисковый 2 мм МПР-350М.10.00.00
диск терочный МПР-350М.11.00.00
диск тонкого измельчения МПР-350М.12.00.00
диск шинковочный 4х3мм МПР-350М.13.00.00
нож дисковый 10 мм МПО-1.04.06.00
решетка ножевая 10х10 мм МПО-1.04.03.00
нож для нарезки соломкой 2х2мм МПО-1.04.16.00
диск протирочный d1,5мм МПР-350М.00.00.05
решетка ножевая 10 мм МПР-350У.07.00.00
нож для нарезки 10 мм МПР-350У.08.00.00
нож для нарезки 10 мм МПР-350У.08.00.00
  1 
  1 
  1 
  1 
  1 
  1 
  1 
  1 
  1 
  1 
  1 
  
  1 
  1 
  1 
  1 
  1 
  1 
  1 
  1 
Комплект принадлежностей
прочистка МПР-350М.00.00.10
лопатка МЭБ-1.00.50
толкатель МПР-350М.03.00.04
толкатель МПР-350М.03.00.04-01
  1 
  1 
  1 ​
  1 
  1 
  1 
  1 
  1 ​
  1 
  1 
Комплект монтажных частей
Щиток открытой установки 3SD6 с «нулевой» шиной и шиной заземления для трехполюсного автоматического выключателя.
Выключатель автоматический типа ВА 47-29, 415В, 50 Гц, 3 полюса, время-токовая характеристика «С», ТУ2000 АГИЕ.641.235.003
2,5 А
1,6 А
Устройство ввода указанных параметров является обязательной частью машины. Нарушение этого требования может привести к выходу машины из строя.
Кабель H05VV5-F 5G1 (либо другой с аналогичными свойствами) для подсоединения машины к автоматическому выключателю), общая длина, м
  1 
Примечание: комплектуется заказчиком
  1 
Примечание: комплектуется заказчиком
3,2
Примечание: комплектуется заказчиком
  1 
Примечание: комплектуется заказчиком
  1 
Примечание: комплектуется заказчиком
3,2
Примечание: комплектуется заказчиком
  1 
Примечание: комплектуется заказчиком
  1 
Примечание: комплектуется заказчиком
3,2
Примечание: комплектуется заказчиком
Комплект тары
ящик упаковочный
ящик для комплектов
  1 
  1 
  1 
  1 
  1 
Документация
руководство по эксплуатации МПР-350М РЭ
памятка по обращению с машинами типа МПР-350М Д1
инструкция по технике безопасности машин типа МПР-350М Д2
  1 
  1
(в составе РЭ)
  1
(в составе РЭ)
  1 
  1
(в составе РЭ)
  1
(в составе РЭ)
Машины протирочно-резательные МПР-350М предназначены для протирки вареных продуктов (картофеля, свеклы, моркови, жидких каш, гороха, фасоли, яблок, творога и т.д.), нарезки сырых и вареных продуктов (картофеля, свеклы, моркови, лука, репы, брюквы, огурцов, томатов и т.д.) на частицы различной геометрической формы, тонкого измельчения картофеля, моркови, а также шинковки капусты.

Предназначены для эксплуатации на предприятиях общественного питания и малых предприятиях по переработке овощей.

Машины изготавливаются для работы при температуре от плюс 1 до плюс 35°С в климатическом исполнении УХЛ4 по ГОСТ 15150-69.
Выпускаются в трех вариантах исполнения:

  1. МПР-350М - для нарезки сырых и вареных, протирки вареных продуктов.
  2. МПР-350М-01 - для протирки вареных продуктов.
  3. МПР-350М-02 - для нарезки сырых и вареных продуктов.
Устройство и работа машин протирочно-резательных

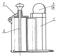
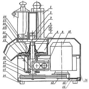
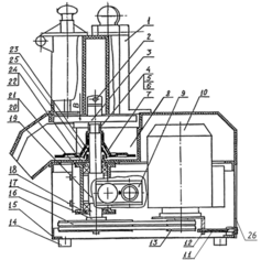
Машины состоят из привода, вала и рабочей камеры. Привод включает в себя электродвигатель, шкивы и клиновой ремень.
1 – Приспособление для нарезки; 2 – Винт специальный; 3 – Сменные рабочие органы;
4 – Втулка; 5 – Гайка регулировочная; 6 – Контргайка; 7 – Сбрасыватель; 8 – Рабочая камера лотка; 9 – Панель;
10 - Электродвигатель; 11 – Болт натяжения; 12 – Плита подмоторная;
13,17 – Шкивы; 14 – Опора; 15 – Рама; 16 – Ремень клиновой (Z(0)-800 ГОСТ 1284.1-89);
18,24 – Крышки; 19 – Вал; 20 – Подшипники (206 ГОСТ 8338-75); 21 – Стакан; 22 – Манжета;
23 – Отражатель; 25 – Гайка; 26 - Щиток; В – Рабочий зазор
Для измельчения сырых и вареных продуктов необходимо установить на вал один из сменных рабочих органов. Приспособление для нарезки устанавливается на рабочую камеру. Перерабатываемый продукт подается в одно из окон приспособления для нарезки и проталкивается толкателями в зону резания.
1 - Корпус; 2 – Толкатель серповидный; 3,4 – Толкатели цилиндрические; 5 – Кронштейн
Для протирки вареных продуктов необходимо установить на вал диск протирочный, затем ротор лопастной. Приспособление для протирки устанавливается на рабочую камеру.
1 - Корпус; 2 – Предохранитель; 3 – Ось; 4 – Втулка
Овощи и картофель вымыть, очистить от кожуры и удалить глазки. Кочан капусты очистить от грязных листьев, вырезать кочерыгу, а затем порезать на части.

Картофель должен подаваться на протирку очищенным от кожуры, без глазков, сваренным, без отвара, согласно рецептуре предприятий питания. Температура протираемого картофеля должна быть от плюс 85 до плюс 90 0С.

Крупы и бобовые подаются на протирку сваренными в виде жидких каш. Творог протирается без предварительной обработки. Яблоки подаются на протирку предварительно промытыми и очищенными от сердцевины, печеными или вареными. Морковь и свекла подаются на протирку сваренными, очищенными от кожуры и измельченными на диске терочном.

Протертые овощи и творог должны представлять собой однородную массу без комочков. Протертое картофельное пюре должно быть однородным, не вязким, без комочков. Картофель не должен остывать ниже плюс 800С.

При протирке жидких каш оболочка зерен должна оставаться на протирочном диске. Во избежание попадания мезги в протертую массу, необходимо периодически очищать диск.
Транспортировка

Машина должна транспортироваться от места получения до места установки и монтажа в упаковке предприятия-изготовителя. После распаковки машины необходимо проверить комплектность поставки согласно п 1.3 Руководства по эксплуатации.
Монтаж

Место установки машины должно гарантировать сохранность и обеспечивать удобство работы при ее эксплуатации и техническом обслуживании, а также должно соответствовать санитарным нормам, требованиям пожарной безопасности, техники безопасности и монтажной схемы.

Все работы по подсоединению машины к электрической сети и пуску в эксплуатацию должны быть выполнены представителем обслуживающей специализированной организации, в соответствии с действующими в Республике Беларусь: "Правилами устройства электроустановок", "Правилами технической эксплуатации электроустановок потребителей", "Межотраслевыми правилами по охране труда", либо в соответствии с аналогичными действующими нормативными документами страны-импортера.
Гарантийные обязательства

Гарантийный срок - 24 месяца, исчисляется со дня ввода машины в эксплуатацию, но не позднее 6 месяцев со дня приобретения машины.

Предприятие-изготовитель в период гарантийного срока устраняет отказы и неисправности в работе оборудования только при условии:

  1. Соблюдения всех требований "Руководства по эксплуатации" машины.
  2. Монтаж и ввод в эксплуатацию произведен специалистами сервисного центра, либо специалистами другой организации с письменного разрешения предприятия-изготовителя.
  3. Передачи (пересылки) предприятию-изготовителю копии оформленного в полном объеме "Акта ввода оборудования в эксплуатацию" в течение 10 дней со дня ввода машины в эксплуатацию для постановки оборудования на гарантийный учет.
  4. Проведение ежемесячного технического обслуживания согласно "Руководства по эксплуатации".
  5. Передачи (пересылки) предприятию-изготовителю оформленного в полном объеме "Акта-рекламации".
Работы по ежемесячному техническому обслуживанию, в соответствии с требованиями "Руководства по эксплуатации", не являются работами по гарантии и производятся за счет потребителя специализированными организациями по предварительно заключенному договору между ними.

При нарушении хотя бы одного из вышеуказанных пунктов предприятие-изготовитель снимает с себя гарантийные обязательства.

Примечание: оформленные "Акт ввода оборудования в эксплуатацию" и "Акт-рекламация" должны быть заверены печатью потребителя и предприятия, производящего ввод в эксплуатацию или ремонт и техническое обслуживание.
У вас остались вопросы?
Оставьте контакты и мы вам перезвоним
Оставьте контакты и мы вам перезвоним
Наш адрес:
Россия, г. Смоленск, Лавочкина, д. 104
помещение 13
Наш email: